茅台,入局固态电池!
2024-08-19
8月14日,天眼查显示,兰溪致德新能源材料有限公司(“以下简称兰溪致德”)发生工商变更,新增茅台旗下茅台金石(贵州)产业发展基金合伙企业(有限合伙)、中金资本旗下中金(宜宾)生态文明产业发展股权投资合伙企业(有限合伙)、金石投资旗下金石成长股权投资(杭州)合伙企业(有限合伙)等为股东,同时,公司注册资本由约4335.78万人民币增至约4853.27万人民币。
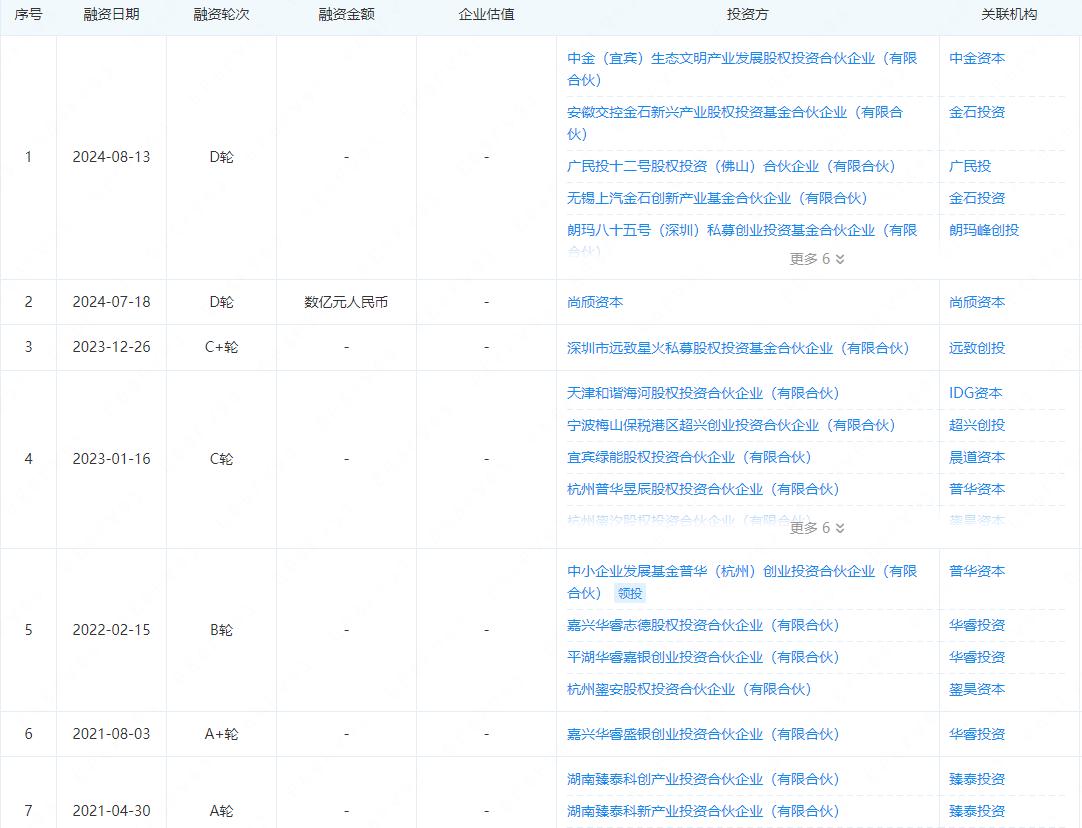
据悉,兰溪致德成立于2018年12月,致力于高能量密度锂电池复合材料的研发、生产及销售,主要产品为锂电池用高容量硅/碳负极材料。包括ZDS01(低成本、普通效率的硅负极材料)、ZDS02(新型高效硅负极材料)以及ZDS03(新型高倍率硅负极材料)等,产品广泛应用于电池、3C和电动汽车等领域。截止到目前,兰溪致德已有5轮7次融资,包括招银国际、IDG资本、普华资本等知名投资机构。详情如下:

近年来,茅台在多个领域投资非常活跃,2023年5月18日,贵州茅台发布公告称,拟以自有资金参与设立茅台招华基金与茅台金石基金。两只基金的认缴总规模均为55.1亿元,其中贵州茅台认缴出资额均为50亿元。投资方向包括但不限于新一代信息技术、生物技术、新能源、新材料、高端装备、大消费等领域。据天眼查数据,今年以来贵州茅台已出手5次,投资了思朗科技、虹摹生物、珈硅能源等芯片制造、新能源电池等高新技术产业赛道上的企业。详细情况如下所示:

(文章来源于DT新媒体)
分享: